Мотор-редукторы червячные одноступенчатые типа 5МЧ
Назначение.
Мотор-редукторы червячные одноступенчатые серии 5МЧ являются приводами общего назначения различных машин и механизмов.
Условия применения.
- нагрузка постоянная и переменная в пределах номинального крутящего момента, одного направления и реверсивная;
- работа длительная (до 24 ч. в сутки) или с периодическими остановками;
- вращение валов в любую сторону без предпочтительности, частота вращения входного вала до 1500 об/мин;
- атмосфера типа I и II по ГОСТ
15150—69 при запыленности воздуха не более 10 мг/м3; - климатическое исполнение и категория размещения по ГОСТ 15150 — 69.
Пример записи условного обозначения:


Технические характеристики*:
|
Межосевое расстояние, мм
|
100
|
||||||||||
|
Частота вращения входного вала, об/мин
|
1500
|
||||||||||
|
Радиальная консольная нагрузка, приложенная в середине посадочной части выходного вала, Н
|
6000
|
||||||||||
|
Номинальное передаточное число
|
8
|
10
|
12,5
|
16
|
20
|
25
|
31,5
|
40
|
50
|
63
|
80
|
|
Номинальный крутящий момент на выходном валу, Нм
|
540
|
525
|
540
|
540
|
525
|
525
|
577
|
540
|
540
|
440
|
420
|
|
Подводимая расчетная мощность на выходном валу, кВт
|
11,0
|
8,7
|
7,2
|
5,8
|
4,6
|
3,7
|
3,5
|
2,7
|
2,2
|
1,6
|
1,2
|
|
КПД, не менее
|
92
|
91
|
90
|
88
|
86
|
85
|
79
|
75
|
74
|
66
|
65
|
|
Масса без двигателя, кг, не более
|
43
|
||||||||||
|
Межосевое расстояние, мм
|
125
|
||||||||||
|
Частота вращения
входного вала, об/мин |
1500
|
||||||||||
|
Радиальная консольная
нагрузка, приложенная в середине посадочной части выходного вала, Н |
8500
|
||||||||||
|
Номинальное передаточное
число |
8
|
10
|
12,5
|
16
|
20
|
25
|
31,5
|
40
|
50
|
63
|
80
|
|
Номинальный крутящий
момент на выходном валу, Нм |
925
|
900
|
900
|
950
|
925
|
875
|
1150
|
900
|
925
|
875
|
750
|
|
Подводимая расчетная
мощность на выходном валу, кВт |
18,6
|
14,6
|
11,9
|
10,1
|
7,9
|
6,2
|
6,8
|
4,3
|
3,7
|
2,9
|
2,1
|
|
КПД, не менее
|
93
|
92
|
91
|
88
|
87
|
85
|
80
|
78
|
75
|
72
|
66
|
|
Масса без двигателя,
кг, не более |
73
|
||||||||||
*Данные приведены для режима работы с ПВ 40%
Габаритные и присоединительные размеры:

|
Тип
|
aw
|
L
|
l1
|
l2
|
l3
|
B
|
b1
|
b2
|
b3
|
H
|
H1
|
h1
|
h2
|
D
|
d
|
n
|
|
5МЧ-80
|
80
|
235
|
152,5
|
130
|
165
|
241,5
|
150
|
150
|
185
|
292
|
247
|
14
|
80
|
250
|
16
|
8
|
|
5МЧ-100
|
100
|
328
|
225
|
140
|
175
|
310
|
200
|
200
|
235
|
362
|
300
|
18
|
100
|
300
|
19
|
8
|
|
5МЧ-125
|
125
|
332
|
222
|
190
|
230
|
396
|
230
|
230
|
280
|
429
|
365
|
22
|
111
|
350
|
19
|
8
|
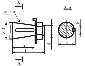
Размеры концов выходных валов:
-цилиндрического

|
Тип
|
d
|
l
|
b
|
t
|
|
5МЧ-80
|
35
|
58
|
10
|
38
|
|
5МЧ-100
|
45
|
110
|
14
|
48,5
|
|
5МЧ-125
|
55
|
110
|
14
|
58,5
|

|
Тип
|
d
|
d1
|
1
|
l1
|
b
|
t
|
|
5МЧ-100
|
45
|
M30x2
|
110
|
41
|
12
|
43,9
|
|
5МЧ-125
|
55
|
M36x2
|
110
|
41
|
14
|
54,4
|

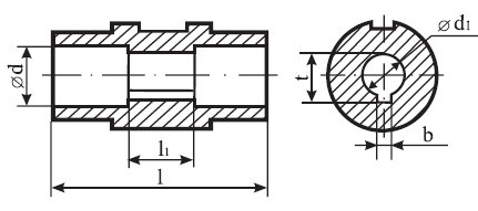
-шлицевого

|
Тип
|
d
|
l
|
l1
|
k
|
i
|
|
5МЧ-80
|
41
|
180
|
110
|
40xH7x1,5
|
25
|
|
5МЧ-100
|
46
|
212
|
90
|
45xH8x2
|
21
|
|
5МЧ-125
|
57
|
215
|
110
|
55xH8x2,2
|
20
|

|
Тип
|
d
|
d1
|
1
|
l1
|
b
|
t
|
|
5МЧ-80
|
41
|
35H8
|
180
|
110
|
10
|
38,36
|
|
5МЧ-100
|
46
|
40H8
|
212
|
90
|
12
|
43,3
|
