Редукторы В(ф)-100, В(ф)-125, В(ф)-160, В(ф)-200, В(ф)-250

Технические характеристики
|
Типоразмер редуктора
|
Передаточное отношение
|
Частота вращения входного вала, мин -1
|
Номинальный крутящий момент на выходном валу, Н* м
|
|
В-100
|
10; 12,5; 16; 20; 25; 31,5; 40
|
1500
|
172...563
|
|
В-100Ф
|
|||
|
В-125
|
10; 12,5; 16; 20; 25; 31,5; 40; 50
|
344...1250
|
|
|
В-125Ф
|
|||
|
В-160
|
668...2500
|
||
|
В-160Ф
|
|||
|
В-200
|
10; 12,5; 16; 20; 25; 31,5; 40; 50; 63; 80; 100
|
1375...5000
|
|
|
В-200Ф
|
|||
|
В-250Ф
|
2750...10000
|
||
|
В-250
|
Габаритные и присоединительные размеры
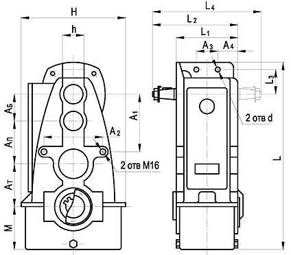
Типоразмеры В-100,В-125,В-160

|
Типоразмер редуктора
|
АБ
|
АП
|
АТ
|
А1
|
А2
|
А3
|
А4
|
H
|
h
|
L
|
L1
|
L2
|
L3
|
L4
|
M
|
d
|
|
|
мм
|
|||||||||||||||||
|
В-100
|
80
|
100
|
100
|
170
|
135
|
60
|
55
|
254
|
40
|
470
|
170
|
235
|
71
|
300
|
100
|
11
|
|
|
В-125
|
80
|
125
|
125
|
185
|
180
|
80
|
60
|
316
|
60
|
545
|
200
|
263
|
71,5
|
320
|
125
|
14
|
|
|
В-160
|
100
|
160
|
160
|
215
|
220
|
80
|
75
|
390
|
80
|
692
|
230
|
295
|
92
|
360
|
160
|
18
|
|
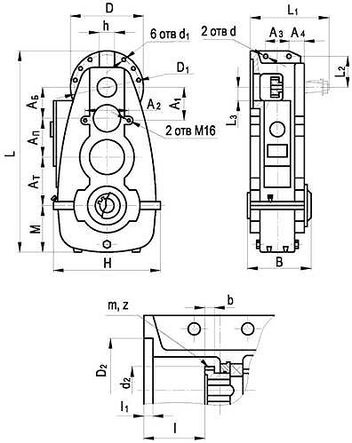
Редукторы типа

|
Типоразмер редуктора
|
АБ
|
АП
|
АТ
|
M
|
A1
|
A2
|
A3
|
A4
|
B
|
D
|
D1
|
D2
|
d
|
d1
|
d2
|
|
В-100Ф
|
80
|
100
|
100
|
100
|
170
|
135
|
60
|
55
|
275
|
300
|
265
|
230h8
|
11
|
14
|
125
|
|
В-125Ф
|
80
|
125
|
125
|
125
|
185
|
180
|
80
|
60
|
306
|
300
|
265
|
230h8
|
14
|
14
|
125
|
|
В-160Ф
|
100
|
160
|
160
|
160
|
215
|
220
|
80
|
75
|
370
|
336
|
300
|
250h8
|
18
|
18
|
110
|
|
Типоразмер редуктора
|
Н
|
h
|
L
|
L1
|
L2
|
L3
|
L4
|
L5
|
b
|
l
|
l1
|
m
|
z
|
Масса, кг
|
|
В-100Ф
|
254
|
40
|
520
|
170
|
260
|
71
|
470
|
325
|
12
|
67
|
5
|
2,5
|
20
|
52
|
|
В-125Ф
|
316
|
60
|
595
|
200
|
290
|
72
|
545
|
353
|
12
|
67
|
5
|
2,5
|
20
|
79
|
|
В-160Ф
|
390
|
80
|
748
|
230
|
350
|
92
|
692
|
410
|
12
|
100
|
5
|
2,5
|
30
|
132
|
Типоразмеры В-200, В-250

|
Типоразмер редуктора
|
АБ
|
АП
|
АТ
|
А1
|
А2
|
В
|
Н
|
h
|
L
|
L1
|
L2
|
L3
|
M
|
d
|
Масса
|
|
|
мм
|
кг
|
|||||||||||||||
|
В-200
|
125
|
160
|
200
|
100
|
67
|
277
|
450
|
70
|
825
|
210
|
420
|
130
|
190
|
22
|
210
|
|
|
В-250
|
160
|
200
|
250
|
120
|
79
|
322
|
552
|
80
|
1015
|
240
|
480
|
137,5
|
240
|
22
|
320
|
|
Типоразмеры В-200Ф, В-250Ф

|
Типоразмер редуктора
|
АБ
|
АП
|
АТ
|
M
|
A1
|
A2
|
A3
|
A4
|
B
|
D
|
D1
|
D2
|
|
мм
|
||||||||||||
|
В-200Ф
|
125
|
160
|
200
|
190
|
100
|
200
|
100
|
66
|
277
|
330
|
300
|
250Н8
|
|
В-250Ф
|
160
|
200
|
250
|
240
|
163
|
200
|
120
|
79
|
322
|
330
|
300
|
250Н8
|
|
Типоразмер редуктора
|
d
|
d1
|
d2
|
Н
|
h
|
L
|
L1
|
L2
|
L3
|
b
|
l
|
l1
|
m
|
z
|
|
мм
|
||||||||||||||
|
В-200Ф
|
22
|
18
|
80
|
450
|
70
|
840
|
327
|
130
|
50
|
12
|
80
|
6
|
2,5
|
30
|
|
В-250Ф
|
22
|
18
|
100
|
552
|
80
|
1015
|
379
|
137
|
65
|
15
|
80
|
6
|
2,5
|
38
|
Размеры концов валов,
Входной Выходной

|
Типоразмер
редуктора
|
d
|
d1
|
l
|
l1
|
b
|
t
|
d2
|
d3X Н8 х m
|
L
|
l2
|
l3
|
l4
|
|
|
мм
|
|||||||||||
|
В-100 В-100Ф
|
25
|
36
|
60
|
42
|
5
|
13,45
|
50
|
35 x H8 x 2
|
174
|
35
|
54
|
25
|
|
В-125 В-125Ф
|
25
|
36
|
60
|
42
|
5
|
13,45
|
50
|
45 x H8 x 2
|
204
|
38
|
78
|
25
|
|
В-160 В-160Ф
|
28
|
36
|
60
|
42
|
5
|
14,95
|
65
|
65 х Н8 х 2
|
236
|
42
|
78
|
37
|
|
В-200 В-200Ф
|
35
|
42
|
80
|
58
|
6
|
18,55
|
75
|
70 х Н8 х 2,5
|
240
|
60
|
32
|
44
|
|
В-250 В-250Ф
|
38
|
50
|
80
|
58
|
6
|
20,05
|
95
|
90 х Н8 х 2,5
|
286
|
70
|
60
|
43
|
