Редукторы цилиндрические горизонтальные двухступенчатые типа РЦД-250, РЦД-350, РЦД-400

Технические характеристики
|
Типоразмер редуктора
|
Передаточное отношение
|
Частота вращения входного вала, мин-1
|
Номинальный крутящий момент на выходном валу, Нм
|
|
РЦД - 250
|
10; 16; 20; 25, 31,5; 40
|
от 1500 до 600
|
от 431 до 505
|
|
РЦД - 350
|
от 1020 до 1200
|
||
|
РЦД - 400
|
от 1990 до 2300
|
Габаритные и присоединительные размеры

|
Тип
|
аw2
|
aw
|
L
|
L1
|
L2
|
1
|
11
|
l2
|
l3
|
l4
|
l5
|
Н
|
H1
|
h
|
d
|
B
|
B1
|
B2
|
Масса
кг
|
|
РЦД - 250
|
150
|
250
|
520
|
220
|
230
|
400
|
330
|
115
|
185
|
235
|
165
|
315
|
160
|
24
|
23
|
250
|
250
|
200
|
87
|
|
РЦД - 350
|
200
|
350
|
700
|
260
|
290
|
545
|
480
|
164
|
235
|
280
|
240
|
410
|
212
|
24
|
23
|
320
|
320
|
255
|
175
|
|
РЦД - 400
|
250
|
400
|
800
|
280
|
335
|
640
|
540
|
190
|
285
|
330
|
270
|
510
|
265
|
28
|
27
|
360
|
360
|
275
|
287
|
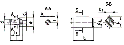
Размеры концов валов
Входной Выходной

|
Типоразмер
|
d
|
d1
|
d2
|
l
|
li
|
b
|
t
|
d3
|
l2
|
b1
|
t1
|
|
редуктора
|
мм
|
||||||||||
|
РЦД -250
|
30
|
50
|
М20Х1,5
|
80
|
58
|
5
|
15,55
|
45
|
82
|
14
|
49,5
|
|
РЦД -350
|
35
|
6
|
18,55
|
65
|
105
|
18
|
71
|
||||
|
РЦД -400
|
18,55
|
85
|
130
|
22
|
93
|
||||||
Выходной
Исполнение М (в виде части зубчатой полумуфты)

|
Тип
|
m
|
z
|
b
|
L
|
L1
|
k
|
В
|
d F7
|
d1 f9
|
|
РЦД - 250
|
3
|
48
|
25
|
50
|
16
|
22
|
45
|
90
|
110
|
|
РЦД - 350
|
56
|
55
|
125
|
||||||
|
РЦД - 400
|
Полый вал редуктора РЦД-400П
